上海国特阀门BQ941F电动保温球阀采用电动角行程执行机构与夹套保温球阀组成,具有良好的保温保冷特性,且气动保温球阀的通径与管径一致,同时又能有效降低管路中介质热量损失。采用一体化结构,电动执行机构内置伺服系统,无须另配伺服放大器,输入4-20mA控制信号或1-5VDC及220VAC电源即可控制运转。
【产品名称:电动保温球阀】
【产品型号:BQ941F-16P】
上海国特阀门BQ941F电动保温球阀采用一体化结构,有输入控制信号(4~20mA DC或1~5V DC)及单相电源即可控制运转,具有功能强、体积小、轻便宜人、性能可靠、配套简单、流通能力,特别适合于介质是粘稠,含颗粒,纤维性质的场合。目前该阀广泛应用于食品、环保、轻工、石油、造纸、化工教学和科研设备、电力等行业的工业自动控制系统中。
【产品介绍】:
上海国特阀门BQ941F电动保温球阀采用电动角行程执行机构与夹套保温球阀组成,具有良好的保温保冷特性,且气动保温球阀的通径与管径一致,同时又能有效降低管路中介质热量损失。采用一体化结构,电动执行机构内置伺服系统,无须另配伺服放大器,输入4-20mA控制信号或1-5VDC及220VAC电源即可控制运转。
【工作原理】:
BQ941F电动保温球阀以DC24V、AC220V或AC380V电源电压作动力,直接接受统一标准信号(4-20mA DC、0-10mA DC或1-5V DC、0-10V DC),将此转变成与输入信号相对应的位移,以角度位移(0~90o)运动,改变球芯的旋转开度,因此一定的输入信号对应一定的位置开度,实现比例调节动作。(二位开关式接受DC24V、AC220V或AC380V电源电压作动力,通过电机正反转实现开关动作,并同时输出开关阀位指示信号)。
【产品特点】:
1、夹套采用碳素钢管焊接比铸造的更加耐压牢固。
2、采用整体式夹套结构设计,更能均匀地保温、保冷。
1、安装简便,能以任意方向安装于管道中的任意部位。
2、精小型电动执行器有多种电源可供选择,更有防爆电装。
3、阀体内通道平整光滑,可以输送粘性流体、浆液以及固体颗粒。
4、直连方式,电动执行机构内置伺服系统,无须另配伺服放大器。
5、采用进口增强聚四氟乙烯材料具有良好的自润滑性,和耐高温性能。
【主要技术参数】:
公称通径(DN) d L D E Q H W 管螺纹 (mm) (in) (mm) (in) P 20 3/4" 19 117 40 1 1/2" 58.5 147 101 170 G3/4" 25 1" 25 127 50 2" 62.5 156 106 170 G3/4" 40 1 1/2" 38 165 65 2 1/2" 63.5 181 125 250 G3/4" 50 2" 51 178 80 3" 68 218 135 250 G3/4" 80 3" 76 229 150 6" 82 275 193 350 G3/4" 100 4" 102 254 200 8" 83 300 265 420 G3/4" 150 6" 152 292 250 10" 95 403 355 1000 G3/4" 200 8" 203 330 300 12" 100 495 410 1300 G3阀体形式 两段式铸造阀体(外焊接夹套保温) 公称通径 DN20~DN200 公称压力 PN1.6、2.5、4.0 MPa;ANSI 150、300LB ;JIS 10、20、30K 法兰标准 GB、JB、HG、JIS、ANSI、DIN 连接形式 法兰式 压盖型式 螺栓压紧式 适用温度 -40~+450℃ 球体形式 "O"型球体 流量特性 近似快开特性 密封填料 柔性石墨填料等 执行机构
执行器型号 DSR、3810R、DZW、HQ、PSQ 主要技术参数 电源电压:220V/50Hz、380V/50Hz、输入信号:4-20mA或1-5V-DC、输出信号:4-20mA·DC 防护等级:相当IP65(或IP67)、隔爆标志:ExdⅡBT4、手操功能:手柄 环境温度:-25~+70℃、环境湿度:≤95% 主要性能指标
公称通径 DN(mm) 15 20 25 32 40 50 65 80 100 125 150 200 250 300 额定流量系数KV 21 38 72 112 170 273 384 512 940 1452 2222 3589 5128 7359 允许压差(MPa) ≤ 公称压力 动作范围 0~90° 泄露量Q 按GB/T4213-92,小于额定KV0.01% 基本误差 ±1% 回差 ±1% 死区 ≤1%(可调) 可调范围 250:1 350:1 主要零件材料

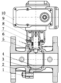
1 左阀体 铸钢、不锈钢 2 右阀体 铸钢、不锈钢 3 阀座 不锈钢、硬质合金 4 球体 2Cr13+硬化处理、304、316 5 垫片 柔性石墨、聚四氟依稀 6 阀杆 2Cr13、304、316 7 填料 柔性石墨、聚四氟依稀 8 压盖 铸钢、不锈钢 9 支架 铸钢、不锈钢 10 执行器 根据实际配置而定 ☆主要技术标准
设计标准 ASME B 16.34 GB/T12224 结构长度 ASME B 16.10 GB/T12221 连接法兰 ASME B 16.5、JB/T 79 试验和检验 JB/T9092 API 598 适用介质 重油、胶类等易凝固介质 ☆主要性能规范
试验压力(MPa) 公称压力(MPa) 压力级(class) JIS(K) 1.6 2.5 4.0 6.4 10.0 150 300 600 10K 20K 强度试验 2.4 3.75 6.0 9.6 15.0 3.0 7.5 16.5 2.4 3.8 密封试验 1.76 2.75 4.4 7.04 11.0 2.2 5.5 12.1 1.5 2.8 气密试验 0.4~0.7MPa ☆主要外形及连接尺寸
联系人:张厂长
手 机:13858880658
邮 箱:
公 司:温州精洲管件法兰有限公司官方网站
地 址: